

Dr. Colin Dalton
Positions
Associate Professor
Schulich School of Engineering, Department of Electrical and Software Engineering
Associate Head (Graduate Studies)
Schulich School of Engineering, Department of Electrical and Software Engineering
Associate Member
Hotchkiss Brain Institute
Approved Supervsior
Biomedical Engineering Graduate Program
Contact information
Phone number
Office: +1 (403) 210-8464
For media enquiries, contact
Joe McFarland
Media Relations and Communications Specialist
Cell: +1.403.671.2710
Email: Joe.Mcfarland@ucalgary.ca
Preferred method of communication
I'm looking for...
Research partners
Interested in exploring research partnerships with fellow academics and industry partners in the area of micro/nano fabrication technologies applied to biomedical engineering problems.
Background
Credentials
Professional Engineer (P.Eng), APEGA,
Senior Member, IEEE,
Educational Background
B.Eng (Hons) Electronic Engineering, University of Wales, 1994
M.Sc. Electronic Engineering, University of Wales, 1998
Ph.D. Electronic Engineering, University of Wales, 2002
Research
Areas of Research
My interests are microfluidics, electrokinetics, Lab on a chip, micro/nano fabrication, MEMS, bioMEMS, microneedles, micro-electrode arrays, brain machine interfaces, technology commercialization, entrepreneurship
I am the Scientific Director of the University of Calgary's microfabrication cleanroom facility, the Microsystems Hub. The facility aids researchers and local industry with their micro/nano fabrication requirements.
https://schulich.ucalgary.ca/research/makerspaces-labs-tech-support/microsystems-hub
See Projects below
See Projects below
See Projects below
Participation in university strategic initiatives
Courses
Course number | Course title | Semester |
---|---|---|
ENGG 503 and 504 | Enterprenurial Capstone | Fall and Winter 2022/2023; 2023/2024; 2024/2025 |
ENEL 592 and 594 | ESE Undergraduate Research Thesis | Fall and Winter 2023/2024 |
ENEL 616 | Micro/Nano System Design Fabrication and Integration | Winter 2021, 2022, 2023 |
ENCM 467 | Digital Electronic Circuits | Fall 2019, 2020, 2021 |
BMEN 500 and 503 | BME Undergraduate Research Thesis | Fall and Winter 2018/2019, 2019/2020, 2020/2021; 2021/2022; 2022/2023; 2023/2024 |
ENEL 619.50 | Special Problems (Mcr/NanoSysDsgnFbrctn&Intgrtn) | Winter 2008, 2009, 2010, 2011, 2013, 2014, 2015, 2019, 2020 |
ENEL 619.65 | Special Problems (EleckinMicpumpThr&App) | Spring 2013 |
BMEN 619.28 | Special Problems (Multi electrode arrays) | Spring 2020 |
ENEL 619.48 | Microsystems Technologies | Winter 2005, 2006, 2007 |
MDSC 674.02 | Guest Lecture: Intro to Nanotechnology | Winter 2024, 2025 |
BMEN 478 | Guest Lecture: Engineering Design | Winter 2023, 2024 |
MDSC 755 | Guest Lecture: Academic Entrepreneurship | Winter 2022, 2023, 2024, 2025 |
ENGG 683 | Guest Lecture: Product Design | Winter 2024 |
ENGG 525 | Guest Lecture: Product Development | Winter 2023 |
BMEN 301 | Guest Lecture: Interdisciplinary BME Research | Fall 2022 |
Hunter Hub Launchpad Program | Guest Lecture: Prototyping and Agile Product Development | Fall 2022, 2023, 2024 |
ENCM 507 | Guest Lecture: Cleanrooms | Winter 2019 |
BMEN 301 | Guest Lecture: Knowledge Translation | Fall 2018 |
ENEL 476 | Guest Lecture: Biomedical applications of Electric Fields | Winter 2017, 2018 |
BMEN 401 | Guest Lecture: intro to Microfluidics | Winter 2014 |
ENMF 529 | Guest Lecture: Cleanrooms | Winter 2007, 2010 |
BMEN 619-01 (31282) | Advanced Topics in BMEN - Microneedles | Spring 2025 |
Projects
Needle-free transdermal delivery systems have long been a goal in biomedical engineering research, to overcome injection pain, increase uptake of pharmaceuticals, and reduce the requirement for trained medical personnel to administer injections. Microneedles create microchannels that pierce the hydrophobic skin barrier and enable transdermal routes for drugs to be transported. Microneedles minimize routes of infection, as the microscale holes rapidly heal, can increase drug efficacy, and overcome many of the issues associated with needle phobia. My research includes hollow, solid and coated microneedles for drug delivery and biosensing applications.
All brain functions ranging from simple reflexes to complex motor patterns, learning, memory, and cognition, rely upon network interactions between large neuronal ensembles. Disruption of these networks, either through trauma, stroke, epilepsy, synaptic perturbation, or neurodegenerative diseases (for example, Parkinson’s, Alzheimer’s, multiple sclerosis, etc.), can render the brain dysfunctional. My collaborative research in this area with the Hitchkiss Brain Institute has made new nano-featured multi electrode arrays for better cultured neuron experiments, 3D microelectrodes for improved signal to noise recording from brain slices and in animal models. This work led to spin out company Neuraura.
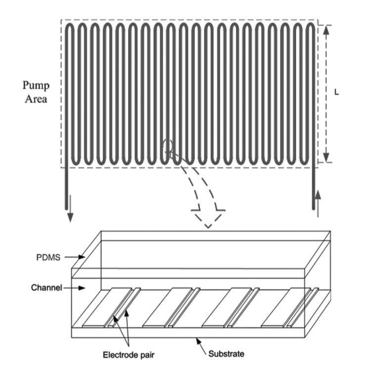
Electrokinetics is utilizing electric fields in microfluidic devices to move fluids. My focus currently is on the AC Electrothermal (ACET) effect, which induces microflows when joule heating of the solution produces non-uniform electric fields and temperature gradients in the fluids. This technique can work with high conductivity fluids, like biofluids, and my lab is investigating the underlying theory through simulations, and also fabricating and testing new devices.
This is an industry linked project with local company Ecmius Biomedical (https://ecmius.com/), developing a manufacturing process for the cannulae (tubes) that are used in the ECMO life support system to remove blood from the body and re-oxygenate it before returning it to the circulatory system.
Awards
- Finalists for Global 'Entrepreneurship Course of the Year', Triple E Awards. 2025
- BME Supervisor of the Year (runner up), UofC Biomedical Engineering Graduate Student Society. 2025
- Top 20 Paper, Journal of Micromechanics and Microengineering. 2024
- Undergraduate Training Excellence Award , Schulich School of Engineering. 2023
- Outstanding Research Impact Award, Schulich School of Engineering. 2023
- Nominated by SSE Dean, Outstanding Mentor Summit Award , APEGA. 2022
- Mentoring Excellence Award, Schulich School of Engineering. 2021
- Outstanding Biomedical Engineering Graduate Program Supervisor of the Year, Biomedical Engineering Program. 2020
- Early Research Excellence Award, Schulich School of Engineering. 2020
- Trusted Reviewer Status, Institute of Physics. 2020
- Parex Innovation Fellowship , Faculty of Science. 2020
- Finalist, Foundation Award Alberta Science and Technology Leadership, ASTech Foundation. 2019
- Teaching Achievement, Schulich School of Engineering. 2019
- Outstanding Laboratory Director, Biomedical Engineering Students Society. 2019
- Winner, TENET Innovation to Commercialization (i2c) competition, University of Calgary. 2018
- Graduate, First cohort, Creative Destructions Labs:Rockies, Creative Destruction Labs Program. 2018
- CMC Success Story, CMC Microsystems. 2018
- Finalist, Falling Walls Venture of the Year, Falling Walls Foundation. 2018
- Top 20 Most Highly cited paper, Journal Biomicrofluidics. 2015
- Outstanding Teaching Achievement, Schulich School of Engineering. 2014
- CMC Success Story, CMC Microsystems. 2009
Publications
In the News
- Microneedle Method Demonstrated at University of Calgary. CTV Nightly News. (2023)
- UCalgary researchers aim to stop or prevent epileptic seizures. uToday, University of Calgary campus wide. (2021)
- Tiny 'YAHOO' sign highlights unique laser technology at University of Calgary. CTV Nightly News. (2019)
- Spin out company developed from University research. uToday, University of Calgary campus wide. (2018)
- Cleanrooms. CTV Nightly News. (2017)
- Brain Machine interfaces. CTV Nightly News. (2016)
- TENET i2c team wows judges with monitoring platform to measure brain activity. Schulich School of Engineering, Campus Wide. (2018)
More Information
Scientific Director, Microsystems Hub
Parex Innovation Fellow Allumnus
Co-Founder, Neuraura Biotech
Current Graduate Students:
Kazim Haider
Isaac Calivillio
Anthony Demong
Former Graduate students:
Joshua Feddema
Kuri Martinez
Thomas Lijnse
Stirling Cenaiko
Kazim Haider
Pierre Wijdenes
Ali Syedah
Sara Pishgar
Ali Salari
Michael Purdy
Atefeh Ghazavi
Bhagat Singh
Rumi Zhang
Former Post Doctoral Fellows:
Ebenezer Owusu-Ansah
Rumi Zhang
Current Technical/Research Staff:
Dylan Finch
Ebenezer Owusu-Ansah
Former Technical/Research Staff:
Malcolm Haynes
Laude Bannerman-Akwei
Lisa van de Panne
Louise Neeve
Kazim Haider
Thomas Lijnse
Undergraduate student supervision: 56
A mixture of summer, final year thesis, project and capstone students
Are you the profile owner?
Login to edit.